Светильник светодиодный промышленный ДПУ2

описание

технические характеристики

СВЕТОДИОДНЫЙ МОДУЛЬ MV-LED
L48-224x12-BR-2835-4000K, 5000K

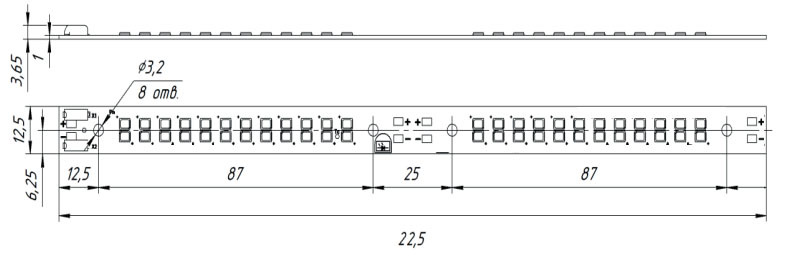
чертеж и габаритные размеры

Светодиодные модули предназначены для уличного и внутреннего освещения. Подходят для производства промышленных, складских, архитектурных, Тепличных и других видов светильников, а также для декоративного и рекламного освещения, для подсветки витрин и торгового оборудования

SMD

> Светодиоды: BXEN-50E-11M-3CA-00-0-0
> ПЛАТА: ФОЛЬГИРОВАННый АЛЮМИНИй 1,0ММ
> Монтаж: 3V Светодиоды типоразмера 2835 bridgelux
> типовая световая температура(CCT): 4000K или 5000к, CRI(Ra)>80
> питание: контактные площадки
> Схема подключения: 2 цепочки из 24 последовательно соединенных светодиодоВ (2*24)

> угол половинной яркости: 120 градусов
> количество светодиодов: 48шт
> отклонение цвета: <5 шагов
> Размеры: 224*12.5mm
> крепление: 4 отверстия диаметром 3.2мм
> максимальная температура: 80/115С
> Срок службы (номинальный / расчётный): 60 000 / >100 000

>80
Сделано в Беларуси
165
Лм/Вт
CRI
Светодиоды
РБ
L48-224x12-BR-2835